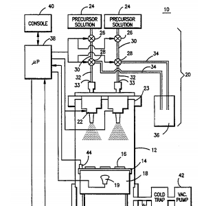
Method and apparatus for CVD using liquid delivery system with an ultrasonic nozzle
Assignee:
Cornell Research Foundation, Inc.
Inventors:
Versteeg; Vera A., Avedisian; C. Thomas, Raj; Rishi
Patent:
USĀ 5,451,260
Ultrasonic Spray Nozzle injection into Chemical Vapor Deposition Reactor
A liquid delivery system for a chemical vapor deposition apparatus, and a method of using the same employs one or more ultrasonic atomizing nozzles to inject one or more liquid precursor solutions directly into a CVD reactor chamber. The liquid delivery system can be operated either in a continuous mode or in a pulsed mode. In the pulsed mode, measured pulses of the liquid precursor solution are injected by the one or more ultrasonic atomizing nozzles so that control of film deposition rates as fine as monolayers per pulse can be obtained. Use of the ultrasonic nozzles insures that the liquid will be vaporized in the reactor chamber so that uniform deposition of films on one or more substrates in the reactor chamber is achieved.

