Patent Title:
Membrane electrode assemblies for use in fuel cells
Assignee:
Inventors:
Mark Hampden-Smith, Toivo Kodas, Plamen Atanassov, Klaus Kunze, Paul Napolitano, Rimple Bhatia, David Dericotte, Paolina Atanassova
Patent:
Summary related to Ultrasonic Spray of Electrocatalyst Powder:
Electrocatalyst powders and methods for producing electrocatalyst powders, such as carbon composite electrocatalyst powders. The powders have a well-controlled microstructure and morphology. The method includes forming the particles from an aerosol of precursors by heating the aerosol to a relatively low temperature, such as not greater than about 400° C.
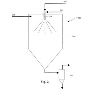
Spray processing according to one embodiment of the present invention starts with a precursor solution (e.g., colloidal carbon and Pt(NH3)4(NO3)2 for the production Pt/C electrocatalyst powder) that is atomized to form droplets. The droplets are passed through a heated zone in which the solvent evaporates and the precursors react to form the desired material, which is collected from the gas stream on a filter or with a cyclone. When the droplets are in the heated zone the precursors decompose and crystallize into the particulate product. The catalyst phase crystallite size can be controlled through control of the temperature of the hot zone and the residence time that the particles are in the hot zone.
Ultrasonic spray nozzles have some advantages over single or two-fluid nozzles. The primary advantage is the low velocity of the spray leaving the nozzle and lack of associated gas flow. Ultrasonic nozzles use high frequency energy to atomize a fluid. Both ultrasonic spray nozzles and submerged ultrasonic transducers have been used by the inventors to produce Pt/C electrocatalyst powders in accordance with the present invention. The reactor conditions (temperature and residence time) used to make the catalysts were essentially the same. The catalysts generated using both approaches had similar physical characteristics and electrochemical activity. The yields using ultrasonic spray nozzles transducers were typically 40% to 60% of theoretical production rates due to losses on the walls as a result of the large droplet sizes and settling. The ultrasonic nozzles providing the smallest particle sizes (120 KHz) were utilized and provided production rates in the 1-2 gram per hour range. The nozzle is capable of higher atomization rates but increasing the liquid flow rate through the nozzle does not increase the production rate on horizontal tubular hot-wall reactors. The additional material merely ends up as a deposit on the furnace tube.

